
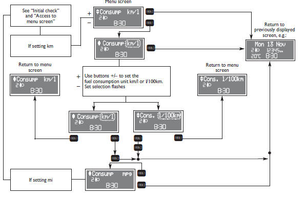
This function enables to select the unit of measure for fuel consumption (km/l, l/100 km or mpg) according to the previously set distance unit (km or mi, see previous paragraph “Distance unit”). To set this function proceed as follows:

Nissan Micra. Booster seats
For additional information on installing a booster
seat in your vehicle, follow the instructions outlined
in this section.
Precautions on booster seats
WARNING
If a booster seat and seat ...
Seat Ibiza. First-aid kit, warning triangle, fire extinguisher
First-aid kit, warning triangle and fire extinguisher
The use of reflective warning triangles is obligatory in emergencies in some
countries. As are the first aid kit and a set of spare lightbulbs. ...
Chevrolet Sonic. Instrument Panel, Leather, Vinyl, Other Plastic Surfaces, Low Gloss Paint Surfaces
and Natural Open Pore Wood Surfaces
Use a soft microfiber cloth dampened with water to remove dust and loose dirt.
For a more thorough cleaning, use a soft microfiber cloth dampened with a mild soap
solution.
Caution
Soaking or sa ...