
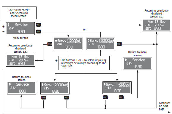
Through the “Service” function it is possible to receive information connected with correct vehicle maintenance.


| The “Service schedule” includes vehicle maintenance every 20,000 km (or 12,000 mi) or every year; this is shown automatically, with the ignition key at MAR, starting from 2,000 km (or 1,240 miles) or 30 days from this deadline and it is shown again every 200 km (or 124 mi) or 3 days. For 1.3 Multijet versions, see “Car Maintenance” in section “Service schedule to change engine oil and filter and air cleaner. Below 200 km service indications are proposed at shorter intervals. Service intervals will be displayed in km or mi according to the unit set. When a programmed maintenance interval (coupon) is near to come, turning the ignition key to MAR, will display the message “Service” followed by the number of km, or days to go before car servicing. “Scheduled servicing” message is displayed in km, miles or days according to the approaching service interval. Contact a Fiat Dealership to carry out any service operation provided by the “Service schedule” or “Annual inspection plan”, and to reset the display. |
Ford Fiesta. Ford Extended Service Plan
(ESP)
PROTECT YOURSELF FROM THE RISING
COST OF VEHICLE REPAIRS WITH A FORD
EXTENDED SERVICE PLAN.
SERVICE PLANS (U.S. Only)
More than 32 million Ford and Lincoln
owners have discovered the powerful
protecti ...
Chevrolet Sonic. Radio Settings
Select and the following may display:
Auto Volume
Radio Favorites
Radio Tune Bar
Radio Text
XM Categories
Radio Factory Settings
Auto Volume
This feature adjusts the radio volume to ...
Chevrolet Sonic. Instrument Panel, Leather, Vinyl, Other Plastic Surfaces, Low Gloss Paint Surfaces
and Natural Open Pore Wood Surfaces
Use a soft microfiber cloth dampened with water to remove dust and loose dirt.
For a more thorough cleaning, use a soft microfiber cloth dampened with a mild soap
solution.
Caution
Soaking or sa ...